Весь контент morfeantyri
-
Установка двигателя Fiat Ducato в вездеход?
спасибо! тут можно тогда закрыть!
-
Установка двигателя Fiat Ducato в вездеход?
Даже не знаю куда, но. Задача: поставить двигатель от Fiat Ducato F1A 2019 года в вездеход! по возможность отвязать от иммо и оставить только блок управления двигателем без приборки и блока комфорта. Возможно ли в принципе такое сотворить?!
-
Проблема с Can на Toyota Highlander 2016
И так РЕЗУЛЬТАТ: Более точная проверка показала, легло все! :) кроме сертификации и блока управления усилителем руля. А именно прилёг кан на массу в каждом блоке. Я как-то сомневался что такое возможно, поэтому сюда и написал, но факт! :) Как показал дальнейший расспрос хозяина авто, случилось все после сварки(о то что в машине что-то варили естественно тихо умолчали при обращении)!!! вот вам и результат не грамотной сварки авто. Тема закрыта машинка ездит все норм! Ну и для соблюдения формальностей: Highlander, GSU45, 2GR-FE, SUV LWB5 год оказался не верным, машина 2011 года! поправить заголовок темы не могу :)
-
Проблема с Can на Toyota Highlander 2016
В общем ситуация следующая, на столе ни моторник ни доска ни srs ни abs не поднялись :( отправил машину товарищу с кан анализатором. поглядим пока результат нулевой :D по техдоку под замену должен уйти чуть ли не каждый блок! :D если машинку все же восстановим напишу что было!
-
Проблема с Can на Toyota Highlander 2016
Вообще странно, но ЛС почистил на всяк случай
-
Проблема с Can на Toyota Highlander 2016
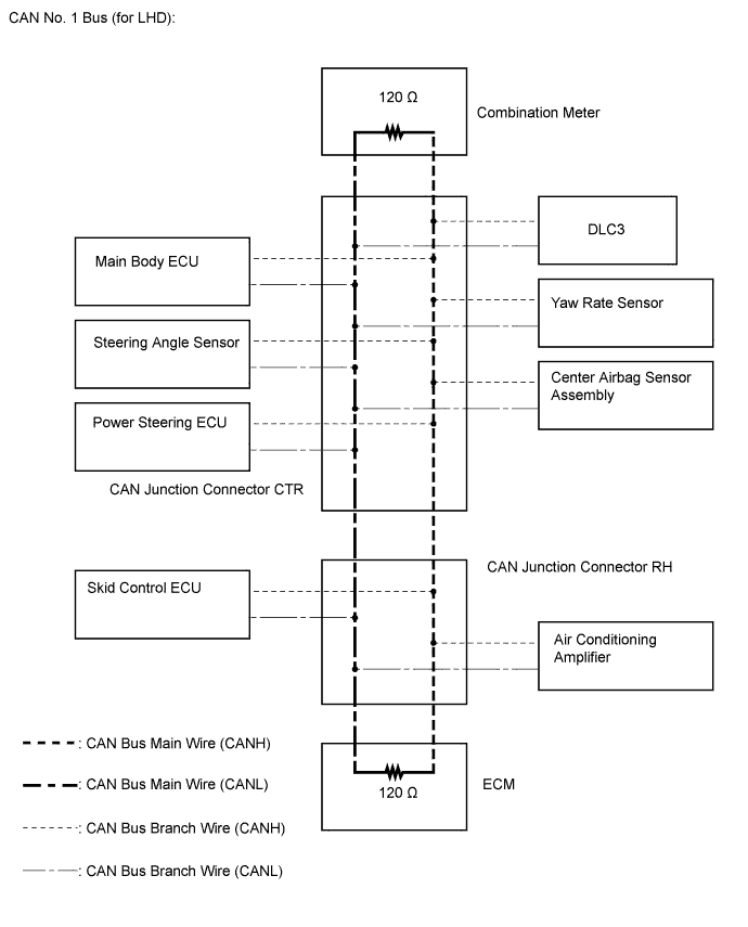
Доброго дня, есть машинка Toyota Highlander 2016 года, без ключевой, обратился человек с тем что перестал показывать тахометр и температура двигателя и загорелся ABS и чек. (Сразу стоит упомянуть что машина была восстановлена после ДТП, под замеру ушёл блок предов с косой до солона, после этого я эту машинку уже видел, закатывались для диагностики) Попытка подключится к машине не увенчалась успехом не видно ни одного блока, дальше стандартно проверил преды, питание на разъеме диагностики, сопротивление по can. и оказалось что и H и L замкнуты на массу! дальше согласно картинке во вложении (взято с тех док с офф сайта Toyota) пробежался по блокам, выяснил что кан умер на ABS как раз он замкнут на массу. Отключил блок на массу не звенит но есть сопротивление в районе 130 ом(по мануалу надо больше 200), вроде хорошо но сопротивление меж H и L 32 ома (по ману 55-75):( на связь машина не выходит не видно ни одного блока! дальнейший разбор показал что имеем на ECU 47 ом место 120, и на доске 35 место 120 ом, хм разобрал доску и моторник нашёл там на CAN ножках за дросселем 6n11SE787, блин даташит на эту штуку найти не удалось. Вопрос: 1. Кто может ещё что подсказать попробовать?! первый раз столкнулся с тем что в машине ни один блок не виден :) хочется разобраться. 2. Есть вариант что ABS мог положить всю сеть кан разом?! Диагностика проводилась AVDI(orig) + Techstream 12. (ну и родной софт абритуса тоже не видит ни одного блока)
-
W166 Блок управления кругового обзора A2079008500?!
Доброго дня, машинка после ДТП восстановлена, была посечена проводка бампера в одно месте (восстановлена по цветам) , удар не сильный, в блоке A2079008500 висит ошибка по передним датчикам, "Ошибка связи по CAN" Машина с Дистроником. Вопрос: передние датчики судя по схеме соединяются параллельно и приходят на 15-14 пин блока A2079008500. Согласно Xentry сопротивление между пином 15-14, при подсоединённых датчиках должно быть 90Ом, но согласно той же программы согласующий в датчиках должен быть так как датчики подключены параллельно согласно схеме, на пине 14-15 блока имеем соответственно 180, а не 90 как хочется Xentry! Я что-то не так понимаю или есть подвох?! :) проводку прозвонил все норм. куда копать ?! может кто подскажет. Так как один из датчиков был разбит в ДТП предположил пробой по CAN, Блок открывал внутри на 14-15 пинах как обычно дроссель -> tja1040. два шунт.резистора по 60,4 Ом. TJA поменял на новую дроссель и резисторы целые. результат 0!
-
ECU автомата Subaru - ищу детальку
Доброго ни кто не пробовал найти аналог драйвера TPD1042F никак не могу найти аналог или такой-же. может кто подскажет?!
-
Ищу кз возможное. LC200 2008г.
Спасибо погляжу. Ах да, был бит в водительскую дверь и восстановлен, со слов хозяина стойки не менялись удар быть не очень сильный, что с проводкой не знает, машину уже взял с проблемой.
-
Ищу кз возможное. LC200 2008г.
Доброго дня, от приехал сегодня товарищ на LC200 с отключенным моторчиком преднатяжителя ремня и почистить срс. срс почистили все ок, спрашиваю: а что отключен ремень ведь "PCS" на панели будет гореть пока не включим. ответ: "когда включаем сгорает пред и отключается генератор! но надо бы сделать!" подключил, действительно сгорел пред генератор вырубился, но при этом преднатяжители по работают :) тахострим пишет всё ок! и тестируются. По схемам преднатяжители весят на другом преде и ни как не пересекаются с генератором. Вопрос Куда копать ?! :) может кто сталкивался... Парень укатил приедет на днях полезу разъёмы проверять. но непонятно где пересечение систем :) P.S.: Да при включенной и работающей системе PCS видна явная просадка напряжения вольта на 2-3 на работающей машине, ну пока пред не сгорит :) потом запах характерный слабый.
-
KTM 690 Duke с ABS (2012) подох в результате подтопления
Да нет он не сахарный конечно, но то что у него внутри вообще не похоже ни на что! :) ну т.е. похоже но очень большая часть заполнена мусором :( Сейчас на панели работает все кроме скорости, так как я дамп взял с панели от SMC, он без абс, и датчик скорости у него имеет частоту в 4 раза меньше той что у АСБ, в результате имеем скорость которая в 4 раза больше необходимой.... задача в найти в панели где задаётся этот параметр, либо найти дамп с идентичного байка. ниже то что удалось считать с утопленника, ну и для сравнения дамп с 990 Adventure и 690 SMC Буду рад если кто что подскажет, и да нет у меня в наличии SMC что бы поглядеть частоту датчика скорости, есть только Duke, но он пока бесполезен :) 05082016 - 24c02 - ktm 690SM - 36844km.bin 05082016 - 24c02 - ktm 690 Duke 2012 abs - orig.bin 1511209 - 24c02 - ktm 990 Adventure 2012 - 29300 km.bin
-
KTM 690 Duke с ABS (2012) подох в результате подтопления
не ужели никто не мотал пробеги на данных аппаратах?
-
KTM 690 Duke с ABS (2012) подох в результате подтопления
доброго дня, а может есть у кого дамп с панели от мотоцикла KTM 690 Duke 2012 года с абс?! а то в результате подтопления подох чип, саму панель запустили залил в нее дамп с 690 smc но тот без ABS да и немного другой и показывает ахинею :) Заранее спасибо!
-
Infinity - 98820 1CA0A (609 58 67 00) - Может кто подскажет?
Не не пропал, только что приехала машина, переделал СПАСИБО alismotors все получилось!
-
Infinity - 98820 1CA0A (609 58 67 00) - Может кто подскажет?
Доброго дня, что-то никак не могу победить :( есть ощущение что перетёр, но вот где ?! когда ставлю на машинку (infinity FX35), включаю зажигание гаснет как надо, ошибок нет, но минут через 15 начинает мигать, подключаюсь к блоку, ошибок нет, просто жму кнопку стереть ошибки лампа гаснет, и все повторяется. Вопрос я где-то что-то напутал?! может кто глянуть?! для диагностики использую AVDI. в архиве краш и проба. блок 98820 1CA0A - 25320 на борту. 609 58 67 00.rar
-
Ищу pinout на блок 13582437 Astra J
а какие если не секрет ?! 59,60,62? про питание это точно!
-
Ищу pinout на блок 13582437 Astra J
Доброго дня, есть ли у кого pinout под x-prog для блока от astra-j 2012 года?! блок 13582437 внутри infineon x2361A-56 P.S.: пытался вызвонить, столкнулся с тем что p10.0 p10.1 p10.2 распаяны на GND. собственно вопрос, поднимать придется все 3 ноги или есть способ?! Задача слить дамп 1 в 1 в другой такой-же блок. Всем заранее спасибо за потраченное время :)
-
Prado 120 - АБС не видит датчика поворота руля.
И так, всяческие издевательства над датчиком ни к чему не привели :( В результате после замены датчика на БУ картина была такой же как на этом, но при разгоне показания менялись в отличии от старого тот в движении никак не реагировал :( далее сброс и калибровка по мануалу перемычной, все встало на свои места и заработало в штатном режиме. ну то есть датчик родной все же неисправен был. СПАСИБО за напутствия и помощь.
-
Prado 120 - АБС не видит датчика поворота руля.
В Понедельник буду в боксе погляжу вин и пришлю... заранее спасибо...
-
Prado 120 - АБС не видит датчика поворота руля.
И так, проблема как описана в цифре 2... Подробней... судя по схеме датчик поворота угла идёт на блок управления подвеской, а с АБС вообще не соединен. когда смотрел проводку данная схема подтвердилась. по ситуации, если разгонять на машине плавно то все нормально, но если попробовать резко ускорится с места то машинка заживает передние колеса и индикатор показывает сработку трекшена. при медленных заездах никаких сигналов на панели не загорается, ошибки в блок не пишутся, при резком тоже.... точно так же ведет себя машина когда с включенным трекшеном пытаешься стартануть с полностью выкрученным рулём.
-
Prado 120 - АБС не видит датчика поворота руля.
Попробовал, снёс перемычкой, адаптировал, по мануалу все прошло как надо. но эффекта 0! у кого еще какие мысли есть?! сейчас в блоке управления подвеской показания датчика в идеале, в блоке абс стоит постоянное значение 1150 и не меняется... может полный сброс блока АБС сделать?! Techstream сможет его обратно привязать?!
-
Prado 120 - АБС не видит датчика поворота руля.
Проверил датчики абс, все работают исправно показания сходятся.
-
Prado 120 - АБС не видит датчика поворота руля.
От это не проверял кстати, спасибо за наводку сейчас доберусь до машины погляжу. Сам датчик работает, его же блок управления подвеской видит и видит адекватно, если датчик отцепить то ошибка по нему появляется как в блоке управления подвеской так и в абс. так что трабла в блоке АСБ, программная или нет надо разобраться. Кстати датчик я снимал. внешнего вмешательства в нем не видать он залит заводским гелем.
-
Prado 120 - АБС не видит датчика поворота руля.
Ошибок нет, в том то и интерес! Пробовал заново адаптировать датчик результат нуливой:( В блоке абс по датчику поворота вечное значение 1150.
-
Prado 120 - АБС не видит датчика поворота руля.
Доброго дня, машинка 2008 год. приехал человек с жалобой на торможение при резком разгоне. Выяснили что машина думает что руль повернут, при этом тапку в пол срабатывает трекшен. Диагностика показала что блок АБС не видит изменений в датчике поворота руля. (отключаем датчик на кулевой колонке и машинка начинает адекватно ехать, но с гирляндой ламп по Трекшену) Судя по схеме датчик подключен к блоку управления подвески, АБС тоже подключен к этому блоку. далее в блоке управления подвеской датчик руля виден и работает адевкатно прозвонили проводку до АБС, все в норме. Вопрос: куда копать? Сбросить блок?! В наличии Avdi и Techstream по passthru Клиент говорит что купил машину с такой проблемой.